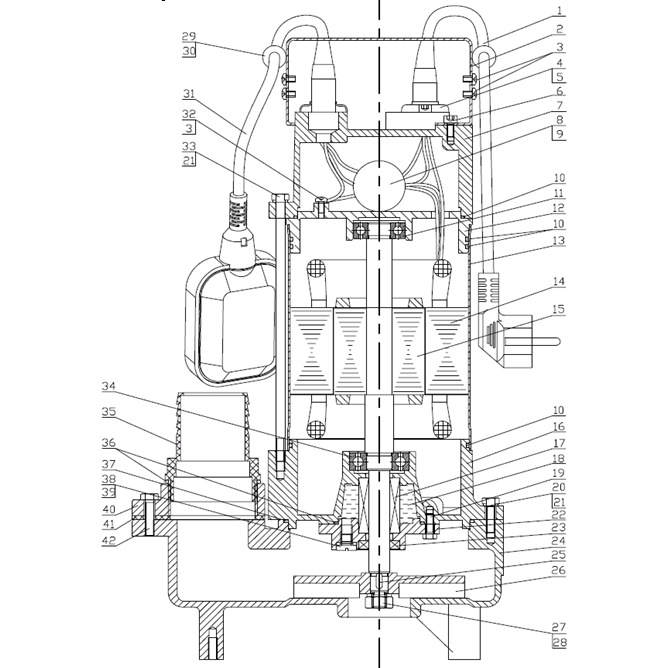
Насос фекальный НПФ-750
Данная модель имеет несколько схем
N Артикул Название Срок отгрузки Цена Купить
1
V000-006-349
Шнур сетевой ZUBR, H07RN-F, Rubber, 3G 1.0mm2, 5m
674 р.
2
N000-026-246
Ручка
–
3
N000-026-237
Винт M4X6
–
4
N000-026-247
Зажим кабеля
–
5
N000-026-212
Винт M5X12
–
6
N000-026-248
Винт M5X10
–
7
N000-026-249
Крышка насоса
–
8
V000-007-546
Конденсатор 20мкФ 450В
249 р.
9
V000-003-362
Выключатель поплавковый V000-003-362 для насосов НПФ-250, НПФ-1500-Р
887 р.
9
N000-026-250
Провода соединительные
–
10
N000-026-251
Кольцо уплотнительное Ф115X(Ф109,7)XФ2,65
–
11
U009-620-2RS
Подшипник шариковый 6202-2RS (35x15x11) n/n
189 р.
12
N000-026-252
Корпус двигателя верхняя часть
1.538 р.
13
N000-026-253
Корпус двигателя
1.935 р.
14
N000-026-274-2
Статор АД
7.754 р.
15
N000-026-275
Ротор
5.590 р.
16
N000-026-256
Корпус двигателя нижняя часть
1.538 р.
17
N000-026-225
Сальник
126 р.
19
N000-026-230
Болт M5X14
–
20
N000-026-258
Болт M6X20
–
21
N000-026-259
Шайба пружинная D6
–
22
N000-026-260
Крышка
–
23
N000-026-261
Кольцо уплотнительное Ф28XФ14X6
616 р.
24
N000-026-262
Корпус насоса
18.617 р.
25
N000-026-231
Шпонка 4X4X10
–
26
N000-026-263
Крыльчатка насоса
445 р.
27
N000-026-264
Гайка M10
–
28
N000-026-265
Шайба пружинная D10
–
29
N000-026-239
Воротник кабеля
–
30
N000-026-240
Втулка кабеля
–
32
N000-026-266
Клемма
–
33
N000-026-267
Болт M6X180
–
34
U009-620-3RS
Подшипник шариковый 6203-2Z (40х17х12) BY
344 р.
35
N000-026-268
Штуцер
383 р.
36
N000-026-243
Кольцо уплотнительное Ф55X(Ф49,7)XФ2,65
–
37
N000-026-269
Кольцо уплотнительное Ф120X(Ф114,7)XФ2,65
–
38
N000-026-244
Винт М8
–
39
N000-026-270
Кольцо уплотнительное Ф13X(Ф6,8)XФ3,1
–
40
N000-026-271
Патрубок
53 р.
41
N000-026-272
Прокладка
39 р.
42
N000-026-273
Болт M6X25
–